Часовой пояс: UTC + 3 часа [ Летнее время ]




Начать новую тему Ответить на тему
 Страница 31 из 34  [ Сообщений: 1697 ]  На страницу Пред.  1 ... 28, 29, 30, 31, 32, 33, 34  След.
Автор Сообщение
СообщениеДобавлено: 19 ноя 2020, 14:54 
Не в сети
Аватара пользователя

Зарегистрирован: 15 сен 2012, 11:45
Сообщения: 148
Откуда: Ростов-на-Дону
Благодарил (а): 66 раз.
Поблагодарили: 4 раз.
Заслуженная репутация: 2
 Ответить с цитатой Ответить на тему 
Добрый день.

Помогите с руководством по эксплуатации 751-10-р РЭ на клапана 1033-20-р ,815-40-рв

Спасибо!

_________________
Взять всё, да и поделить…


Вернуться к началу
  Ответить с цитатой Ответить на тему  Профиль   Рейтинг: 0  
СообщениеДобавлено: 19 ноя 2020, 16:21 
Не в сети
Аватара пользователя

Зарегистрирован: 02 дек 2010, 14:02
Сообщения: 701
Откуда: г. Чехов
Благодарил (а): 8 раз.
Поблагодарили: 149 раз.
Заслуженная репутация: 12
Бравый Арматурщик
 Ответить с цитатой Ответить на тему 


751-10-Р РЭ.pdf [6.03 МБ]
Скачиваний: 1604

_________________


Вернуться к началу
  Ответить с цитатой Ответить на тему  Профиль   Рейтинг: 0  
СообщениеДобавлено: 19 ноя 2020, 18:09 
Не в сети
Аватара пользователя

Зарегистрирован: 15 сен 2012, 11:45
Сообщения: 148
Откуда: Ростов-на-Дону
Благодарил (а): 66 раз.
Поблагодарили: 4 раз.
Заслуженная репутация: 2
 Ответить с цитатой Ответить на тему 

_________________
Взять всё, да и поделить…


Вернуться к началу
  Ответить с цитатой Ответить на тему  Профиль   Рейтинг: 0  
СообщениеДобавлено: 25 ноя 2020, 20:53 
Не в сети
Аватара пользователя

Зарегистрирован: 12 сен 2008, 16:13
Сообщения: 31
Благодарил (а): 0 раз.
Поблагодарили: 0 раз.
Заслуженная репутация: 0
 Ответить с цитатой Ответить на тему 
Здравствуйте!
Скажите, в чём различие клапанов 815-40-РВ и 815-40-РМ


Вернуться к началу
  Ответить с цитатой Ответить на тему  Профиль   Рейтинг: 0  
СообщениеДобавлено: 27 ноя 2020, 08:42 
Не в сети
Аватара пользователя

Зарегистрирован: 02 дек 2010, 14:02
Сообщения: 701
Откуда: г. Чехов
Благодарил (а): 8 раз.
Поблагодарили: 149 раз.
Заслуженная репутация: 12
Бравый Арматурщик
 Ответить с цитатой Ответить на тему 

_________________




Вернуться к началу
  Ответить с цитатой Ответить на тему  Профиль   Рейтинг: 0  
СообщениеДобавлено: 29 ноя 2020, 01:57 
Не в сети
Аватара пользователя

Зарегистрирован: 12 сен 2008, 16:13
Сообщения: 31
Благодарил (а): 0 раз.
Поблагодарили: 0 раз.
Заслуженная репутация: 0
 Ответить с цитатой Ответить на тему 
Спасибо! Всё ясно!


Вернуться к началу
  Ответить с цитатой Ответить на тему  Профиль   Рейтинг: 0  
СообщениеДобавлено: 04 дек 2020, 17:08 
Не в сети
Аватара пользователя

Зарегистрирован: 15 сен 2012, 11:45
Сообщения: 148
Откуда: Ростов-на-Дону
Благодарил (а): 66 раз.
Поблагодарили: 4 раз.
Заслуженная репутация: 2
 Ответить с цитатой Ответить на тему 
Добрый день.

Для формирования корректной заявки требуется пояснение по
наименованию электроприводов колонковых
для регулирующей арматуры.
Электропривод 822-КЭР-0 имеет в обозначении букву Р(регулирующий) а привод 824-КЭ-0-03 не имеет её в обозначении. Прошу пояснить как правильно обозначить в заказе электропривод для регулирующей арматуры 824-КЭ-0-03 или 824-КЭР-0-03.

_________________
Взять всё, да и поделить…


Вернуться к началу
  Ответить с цитатой Ответить на тему  Профиль   Рейтинг: 0  
СообщениеДобавлено: 07 дек 2020, 09:13 
Не в сети
Аватара пользователя

Зарегистрирован: 02 дек 2010, 14:02
Сообщения: 701
Откуда: г. Чехов
Благодарил (а): 8 раз.
Поблагодарили: 149 раз.
Заслуженная репутация: 12
Бравый Арматурщик
 Ответить с цитатой Ответить на тему 

_________________




Вернуться к началу
  Ответить с цитатой Ответить на тему  Профиль   Рейтинг: 0  
СообщениеДобавлено: 07 дек 2020, 11:06 
Не в сети
Аватара пользователя

Зарегистрирован: 15 сен 2012, 11:45
Сообщения: 148
Откуда: Ростов-на-Дону
Благодарил (а): 66 раз.
Поблагодарили: 4 раз.
Заслуженная репутация: 2
 Ответить с цитатой Ответить на тему 

_________________
Взять всё, да и поделить…


Вернуться к началу
  Ответить с цитатой Ответить на тему  Профиль   Рейтинг: 0  
СообщениеДобавлено: 07 дек 2020, 13:45 
Не в сети
Аватара пользователя

Зарегистрирован: 02 дек 2010, 14:02
Сообщения: 701
Откуда: г. Чехов
Благодарил (а): 8 раз.
Поблагодарили: 149 раз.
Заслуженная репутация: 12
Бравый Арматурщик
 Ответить с цитатой Ответить на тему 

_________________




Вернуться к началу
  Ответить с цитатой Ответить на тему  Профиль   Рейтинг: 0  
СообщениеДобавлено: 28 дек 2020, 12:15 
Не в сети

Зарегистрирован: 16 окт 2019, 13:44
Сообщения: 12
Благодарил (а): 6 раз.
Поблагодарили: 0 раз.
Заслуженная репутация: 0
 Ответить с цитатой Ответить на тему 
Здравствуйте!!! подскажите пожалуйста при заказе арматуры, в комплектность поставки РЭ обязательно или это должно быть обусловлено договором на поставку. Если обязательно, то каким пунктом ГОСТа (либо еще каким НД) это прописано. Спасибо.


Вернуться к началу
  Ответить с цитатой Ответить на тему  Профиль   Рейтинг: 0  
СообщениеДобавлено: 28 дек 2020, 14:45 
Не в сети
Аватара пользователя

Зарегистрирован: 02 дек 2010, 14:02
Сообщения: 701
Откуда: г. Чехов
Благодарил (а): 8 раз.
Поблагодарили: 149 раз.
Заслуженная репутация: 12
Бравый Арматурщик
 Ответить с цитатой Ответить на тему 

_________________




Вернуться к началу
  Ответить с цитатой Ответить на тему  Профиль   Рейтинг: 0  
СообщениеДобавлено: 28 дек 2020, 14:55 
Не в сети
Аватара пользователя

Зарегистрирован: 02 дек 2010, 14:02
Сообщения: 701
Откуда: г. Чехов
Благодарил (а): 8 раз.
Поблагодарили: 149 раз.
Заслуженная репутация: 12
Бравый Арматурщик
 Ответить с цитатой Ответить на тему 

_________________




Вернуться к началу
  Ответить с цитатой Ответить на тему  Профиль   Рейтинг: 0  
СообщениеДобавлено: 15 янв 2021, 13:16 
Не в сети

Зарегистрирован: 16 окт 2019, 13:44
Сообщения: 12
Благодарил (а): 6 раз.
Поблагодарили: 0 раз.
Заслуженная репутация: 0
 Ответить с цитатой Ответить на тему 
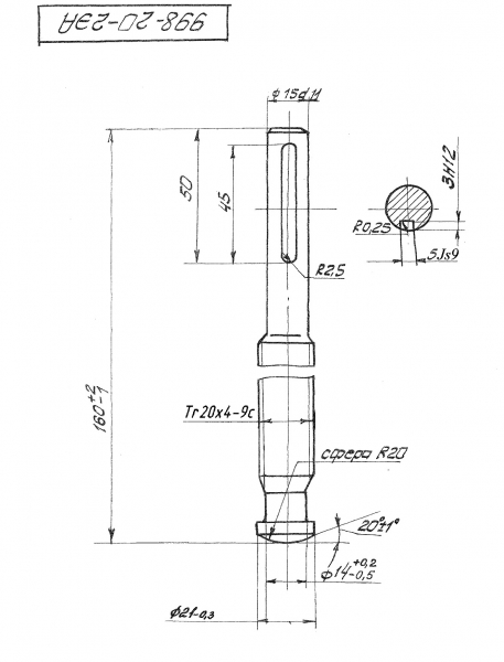
Здравствуйте! Помогите пожалуйста с эскизом шпинделя на клапан 998-20-Э. Материал и регламентируется ли твердость
Заранее спасибо.


Вернуться к началу
  Ответить с цитатой Ответить на тему  Профиль   Рейтинг: 0  
СообщениеДобавлено: 19 янв 2021, 08:32 
Не в сети
Аватара пользователя

Зарегистрирован: 02 дек 2010, 14:02
Сообщения: 701
Откуда: г. Чехов
Благодарил (а): 8 раз.
Поблагодарили: 149 раз.
Заслуженная репутация: 12
Бравый Арматурщик
 Ответить с цитатой Ответить на тему 


"Энергомаш (Чехов)-ЧЗЭМ" - on-line консультации по арматуре / 998-20-2ЭА.jpg
109.34 КБ, Просмотров: 102793

_________________


Вернуться к началу
  Ответить с цитатой Ответить на тему  Профиль   Рейтинг: 0  
СообщениеДобавлено: 24 фев 2021, 14:40 
Не в сети

Зарегистрирован: 12 ноя 2015, 22:07
Сообщения: 34
Благодарил (а): 4 раз.
Поблагодарили: 0 раз.
Заслуженная репутация: 0
 Ответить с цитатой Ответить на тему 
Добрый день! Во время КР обратных клапанов типа 1208-250-О столкнулись с проблемой, на 2-х клапанах из 5-ти плавающая крышка имеет высоту 160 мм, на остальных трёх значительно больше. Вопрос, это зависит от исполнения или же установлены не "родные" плавающие крышки? Соответственно, где крышки меньшей высотой, устанавливается значительно меньше сальниковых колец...
Заранее большое Спасибо!


Вернуться к началу
  Ответить с цитатой Ответить на тему  Профиль   Рейтинг: 0  
СообщениеДобавлено: 02 мар 2021, 09:35 
Не в сети
Аватара пользователя

Зарегистрирован: 02 дек 2010, 14:02
Сообщения: 701
Откуда: г. Чехов
Благодарил (а): 8 раз.
Поблагодарили: 149 раз.
Заслуженная репутация: 12
Бравый Арматурщик
 Ответить с цитатой Ответить на тему 

_________________




Вернуться к началу
  Ответить с цитатой Ответить на тему  Профиль   Рейтинг: 0  
СообщениеДобавлено: 03 мар 2021, 08:05 
Не в сети

Зарегистрирован: 22 фев 2021, 09:09
Сообщения: 11
Благодарил (а): 1 раз.
Поблагодарили: 5 раз.
Заслуженная репутация: 0
 Ответить с цитатой Ответить на тему 
Добрый день. Меня зовут Юрий, работаю старшим мастером на Сургутской ГРЭС-2, участок по ремонту трубопроводной арматуры. Занимаемся в том числе и ремонтом арматуры вашего производства, в этом году уже 2 раза приходили запчасти(седла, штока, муфты, шпиндель и д.р). В мои обязанности помимо организации ремонтных работ входит ещё и тех учеба в меж ремонтный период и в свободное время я занимаюсь печатью макетов трубопроводной арматуры. Сейчас у меня уже есть макеты арматуры низких и средних параметров, хотелось бы напечатать и что то из вашей продукции например ГПК серии 1029 или клапан запорно-дроссельнызапорно-дроссельный 950 серии, или задвижку 883, 884 любого Dn. Если у вас имеется возможность поделиться 3d моделями данных изделий, я был бы вам очень благодарен


"Энергомаш (Чехов)-ЧЗЭМ" - on-line консультации по арматуре / IMG_20210303_090524.jpg
301.18 КБ, Просмотров: 101188
Вернуться к началу
  Ответить с цитатой Ответить на тему  Профиль   Рейтинг: 0  
СообщениеДобавлено: 03 мар 2021, 08:26 
Не в сети
Аватара пользователя

Зарегистрирован: 02 дек 2010, 14:02
Сообщения: 701
Откуда: г. Чехов
Благодарил (а): 8 раз.
Поблагодарили: 149 раз.
Заслуженная репутация: 12
Бравый Арматурщик
 Ответить с цитатой Ответить на тему 

_________________




Вернуться к началу
  Ответить с цитатой Ответить на тему  Профиль   Рейтинг: 0  
СообщениеДобавлено: 03 мар 2021, 08:30 
Не в сети

Зарегистрирован: 22 фев 2021, 09:09
Сообщения: 11
Благодарил (а): 1 раз.
Поблагодарили: 5 раз.
Заслуженная репутация: 0
 Ответить с цитатой Ответить на тему 
Ogneborez@mail.ru личная
Tarakanov_y@unipro.energy корпоративная, но на ей ограничения по размеру файлов. Лучше на личную. Спасибо.


Вернуться к началу
  Ответить с цитатой Ответить на тему  Профиль   Рейтинг: 0  
СообщениеДобавлено: 03 мар 2021, 09:15 
Не в сети
Аватара пользователя

Зарегистрирован: 02 дек 2010, 14:02
Сообщения: 701
Откуда: г. Чехов
Благодарил (а): 8 раз.
Поблагодарили: 149 раз.
Заслуженная репутация: 12
Бравый Арматурщик
 Ответить с цитатой Ответить на тему 

_________________




Вернуться к началу
  Ответить с цитатой Ответить на тему  Профиль   Рейтинг: 0  
СообщениеДобавлено: 04 мар 2021, 09:59 
Не в сети

Зарегистрирован: 16 окт 2019, 13:44
Сообщения: 12
Благодарил (а): 6 раз.
Поблагодарили: 0 раз.
Заслуженная репутация: 0
 Ответить с цитатой Ответить на тему 
Здравствуйте. Подскажите пожалуйста может у кого то есть аргументированные нормы расхода ГСМ при техническом обслуживании энергетической арматуры производства ЧЗЭМ (клапаны запорные серии 588(9); 988(9) 1054; 1055; 1052; задвижки Ду-100-250 (серии 350(1); 590; 880(1); 882; 1120; а так же клапаны регулирующие Ду100-250 серии 1084(6); 814; 870; 448), а также их электроприводов. За любую информацию буду очень благодарен. Заранее спасибо.


Вернуться к началу
  Ответить с цитатой Ответить на тему  Профиль   Рейтинг: 0  
СообщениеДобавлено: 04 мар 2021, 14:13 
Не в сети

Зарегистрирован: 13 авг 2013, 14:47
Сообщения: 28
Благодарил (а): 0 раз.
Поблагодарили: 3 раз.
Заслуженная репутация: 0
 Ответить с цитатой Ответить на тему 
скачайте с сайта Чехова РЭ, там все нормы написаны


Вернуться к началу
  Ответить с цитатой Ответить на тему  Профиль   Рейтинг: 0  
СообщениеДобавлено: 09 мар 2021, 15:33 
Не в сети

Зарегистрирован: 12 ноя 2015, 22:07
Сообщения: 34
Благодарил (а): 4 раз.
Поблагодарили: 0 раз.
Заслуженная репутация: 0
 Ответить с цитатой Ответить на тему 
Cпасибо за информацию!


Вернуться к началу
  Ответить с цитатой Ответить на тему  Профиль   Рейтинг: 0  
СообщениеДобавлено: 11 мар 2021, 11:19 
Не в сети

Зарегистрирован: 22 фев 2021, 09:09
Сообщения: 11
Благодарил (а): 1 раз.
Поблагодарили: 5 раз.
Заслуженная репутация: 0
 Ответить с цитатой Ответить на тему 
Добрый день интересует обозначение детали(в каталоге) для червячного колеса к электроприводу 854-Э-0. Установлен на задвижке 880-350-Э


Вернуться к началу
  Ответить с цитатой Ответить на тему  Профиль   Рейтинг: 0  
СообщениеДобавлено: 11 мар 2021, 11:23 
Не в сети
Аватара пользователя

Зарегистрирован: 02 дек 2010, 14:02
Сообщения: 701
Откуда: г. Чехов
Благодарил (а): 8 раз.
Поблагодарили: 149 раз.
Заслуженная репутация: 12
Бравый Арматурщик
 Ответить с цитатой Ответить на тему 

_________________




Вернуться к началу
  Ответить с цитатой Ответить на тему  Профиль   Рейтинг: 0  
СообщениеДобавлено: 23 мар 2021, 11:27 
Не в сети

Зарегистрирован: 16 окт 2019, 13:44
Сообщения: 12
Благодарил (а): 6 раз.
Поблагодарили: 0 раз.
Заслуженная репутация: 0
 Ответить с цитатой Ответить на тему 
Здравствуйте! Помогите пожалуйста с эскизом шпинделя 350-225-10 и в каких допусках твердость. Спасибо.


Вернуться к началу
  Ответить с цитатой Ответить на тему  Профиль   Рейтинг: 0  
СообщениеДобавлено: 25 мар 2021, 09:20 
Не в сети
Аватара пользователя

Зарегистрирован: 02 дек 2010, 14:02
Сообщения: 701
Откуда: г. Чехов
Благодарил (а): 8 раз.
Поблагодарили: 149 раз.
Заслуженная репутация: 12
Бравый Арматурщик
 Ответить с цитатой Ответить на тему 


350-225-10.pdf [1.58 МБ]
Скачиваний: 1319

_________________


Вернуться к началу
  Ответить с цитатой Ответить на тему  Профиль   Рейтинг: 0  
СообщениеДобавлено: 28 мар 2021, 07:45 
Не в сети

Зарегистрирован: 16 окт 2019, 13:44
Сообщения: 12
Благодарил (а): 6 раз.
Поблагодарили: 0 раз.
Заслуженная репутация: 0
 Ответить с цитатой Ответить на тему 
Здравствуйте!!! Может у кого есть СТП 41-72 буду очень признателен если поделитесь. Спасибо.


Вернуться к началу
  Ответить с цитатой Ответить на тему  Профиль   Рейтинг: 0  
СообщениеДобавлено: 31 мар 2021, 14:04 
Не в сети

Зарегистрирован: 08 авг 2016, 22:36
Сообщения: 63
Благодарил (а): 3 раз.
Поблагодарили: 0 раз.
Заслуженная репутация: 0
 Ответить с цитатой Ответить на тему 
Здравствуйте! Могли бы вы сбросить чертеж на втулку шпинделя (СТП 52-75-303) для задвижки 882-250-Э, интересуют диаметры посадок под подшипники. Спасибо!


Вернуться к началу
  Ответить с цитатой Ответить на тему  Профиль   Рейтинг: 0  
СообщениеДобавлено: 01 апр 2021, 08:59 
Не в сети
Аватара пользователя

Зарегистрирован: 02 дек 2010, 14:02
Сообщения: 701
Откуда: г. Чехов
Благодарил (а): 8 раз.
Поблагодарили: 149 раз.
Заслуженная репутация: 12
Бравый Арматурщик
 Ответить с цитатой Ответить на тему 


СТП 41-72.pdf [1.38 МБ]
Скачиваний: 1295

_________________


Вернуться к началу
  Ответить с цитатой Ответить на тему  Профиль   Рейтинг: 0  
СообщениеДобавлено: 01 апр 2021, 09:00 
Не в сети
Аватара пользователя

Зарегистрирован: 02 дек 2010, 14:02
Сообщения: 701
Откуда: г. Чехов
Благодарил (а): 8 раз.
Поблагодарили: 149 раз.
Заслуженная репутация: 12
Бравый Арматурщик
 Ответить с цитатой Ответить на тему 


СТП 52-75.pdf [1.76 МБ]
Скачиваний: 1272

_________________


Вернуться к началу
  Ответить с цитатой Ответить на тему  Профиль   Рейтинг: 0  
СообщениеДобавлено: 06 апр 2021, 19:18 
Не в сети

Зарегистрирован: 22 фев 2021, 09:09
Сообщения: 11
Благодарил (а): 1 раз.
Поблагодарили: 5 раз.
Заслуженная репутация: 0
 Ответить с цитатой Ответить на тему 


"Энергомаш (Чехов)-ЧЗЭМ" - on-line консультации по арматуре / IMG_20210405_110920~2.jpg
136.19 КБ, Просмотров: 96901 "Энергомаш (Чехов)-ЧЗЭМ" - on-line консультации по арматуре / IMG_20210405_110851.jpg
274.48 КБ, Просмотров: 96901
Вернуться к началу
  Ответить с цитатой Ответить на тему  Профиль   Рейтинг: 0  
СообщениеДобавлено: 07 апр 2021, 08:23 
Не в сети
Аватара пользователя

Зарегистрирован: 02 дек 2010, 14:02
Сообщения: 701
Откуда: г. Чехов
Благодарил (а): 8 раз.
Поблагодарили: 149 раз.
Заслуженная репутация: 12
Бравый Арматурщик
 Ответить с цитатой Ответить на тему 

_________________




Вернуться к началу
  Ответить с цитатой Ответить на тему  Профиль   Рейтинг: 0  
СообщениеДобавлено: 08 апр 2021, 10:49 
Не в сети
Аватара пользователя

Зарегистрирован: 15 сен 2012, 11:45
Сообщения: 148
Откуда: Ростов-на-Дону
Благодарил (а): 66 раз.
Поблагодарили: 4 раз.
Заслуженная репутация: 2
 Ответить с цитатой Ответить на тему 
Добрый день.

Нужна информация для проектной организации.

В опросном листе на клапан 1052-65-э с приводом 792-э-0а-01 двигатель аирс80
Просят указать следующие значения:
Номинальный ток
Пусковой ток
Ток уставки
Систему питания
Режим работы


Спасибо!

_________________
Взять всё, да и поделить…


Вернуться к началу
  Ответить с цитатой Ответить на тему  Профиль   Рейтинг: 0  
СообщениеДобавлено: 09 апр 2021, 13:21 
Не в сети
Аватара пользователя

Зарегистрирован: 02 дек 2010, 14:02
Сообщения: 701
Откуда: г. Чехов
Благодарил (а): 8 раз.
Поблагодарили: 149 раз.
Заслуженная репутация: 12
Бравый Арматурщик
 Ответить с цитатой Ответить на тему 

_________________




Вернуться к началу
  Ответить с цитатой Ответить на тему  Профиль   Рейтинг: 0  
СообщениеДобавлено: 09 апр 2021, 14:18 
Не в сети
Аватара пользователя

Зарегистрирован: 15 сен 2012, 11:45
Сообщения: 148
Откуда: Ростов-на-Дону
Благодарил (а): 66 раз.
Поблагодарили: 4 раз.
Заслуженная репутация: 2
 Ответить с цитатой Ответить на тему 

_________________
Взять всё, да и поделить…


Вернуться к началу
  Ответить с цитатой Ответить на тему  Профиль   Рейтинг: 0  
СообщениеДобавлено: 09 апр 2021, 16:34 
Не в сети
Аватара пользователя

Зарегистрирован: 02 дек 2010, 14:02
Сообщения: 701
Откуда: г. Чехов
Благодарил (а): 8 раз.
Поблагодарили: 149 раз.
Заслуженная репутация: 12
Бравый Арматурщик
 Ответить с цитатой Ответить на тему 


ПС.pdf [118.36 КБ]
Скачиваний: 1202

_________________


Вернуться к началу
  Ответить с цитатой Ответить на тему  Профиль   Рейтинг: 0  
СообщениеДобавлено: 13 апр 2021, 10:42 
Не в сети
Аватара пользователя

Зарегистрирован: 15 сен 2012, 11:45
Сообщения: 148
Откуда: Ростов-на-Дону
Благодарил (а): 66 раз.
Поблагодарили: 4 раз.
Заслуженная репутация: 2
 Ответить с цитатой Ответить на тему 
Спасибо!

_________________
Взять всё, да и поделить…


Вернуться к началу
  Ответить с цитатой Ответить на тему  Профиль   Рейтинг: 0  
СообщениеДобавлено: 13 апр 2021, 12:09 
Не в сети
Аватара пользователя

Зарегистрирован: 15 сен 2012, 11:45
Сообщения: 148
Откуда: Ростов-на-Дону
Благодарил (а): 66 раз.
Поблагодарили: 4 раз.
Заслуженная репутация: 2
 Ответить с цитатой Ответить на тему 
Еще вопрос.

Для вентиля трехходового 1093-10-0 в тех. характеристиках указаны параметры:
Номинальное давление PN, кгс/см2: 137;
Рабочая температура, °С : 560;
Рабочая среда: пар.

Допускается ли применение для питательной воды энергоблоков ТЭЦ с параметрами:
Рабочее давление, кгс/см2: 230;
Рабочая температура, °С : 250;
Рабочая среда: вода.

_________________
Взять всё, да и поделить…


Вернуться к началу
  Ответить с цитатой Ответить на тему  Профиль   Рейтинг: 0  
СообщениеДобавлено: 13 апр 2021, 14:15 
Не в сети
Аватара пользователя

Зарегистрирован: 02 дек 2010, 14:02
Сообщения: 701
Откуда: г. Чехов
Благодарил (а): 8 раз.
Поблагодарили: 149 раз.
Заслуженная репутация: 12
Бравый Арматурщик
 Ответить с цитатой Ответить на тему 

_________________




Вернуться к началу
  Ответить с цитатой Ответить на тему  Профиль   Рейтинг: 0  
СообщениеДобавлено: 02 июн 2021, 21:37 
Не в сети

Зарегистрирован: 13 авг 2013, 14:47
Сообщения: 28
Благодарил (а): 0 раз.
Поблагодарили: 3 раз.
Заслуженная репутация: 0
 Ответить с цитатой Ответить на тему 
Добрый день. В руководстве по эксплуатации на задвижки вы используете термин "приводная головка". У нас возникли разногласия с ремонтным персоналом по поводу того, какие узлы и детали арматуры относятся к этому термину. Мы считаем, что приводная головка - это непосредственно сам редуктор привода (конический или цилиндрический, электро- или ручной). Ремонтный персонал считает, что данный термин описывает то, что вы именуете узлом перемещения шпинделя (или, по другим источникам - узел ходовой гайки). Данный термин не является официально признанным и, соответственно, позволяет толковать его как заблагорассудится. Хотелось бы узнать от производителя (а именно по вашей арматуре и идет спор), что вы понимаете под этим термином и, собственно, границы его применения, т.е. какие узлы и детали входят в состав приводной головки.


Вернуться к началу
  Ответить с цитатой Ответить на тему  Профиль   Рейтинг: 0  
СообщениеДобавлено: 08 июл 2021, 16:57 
Не в сети

Зарегистрирован: 16 окт 2019, 13:44
Сообщения: 12
Благодарил (а): 6 раз.
Поблагодарили: 0 раз.
Заслуженная репутация: 0
 Ответить с цитатой Ответить на тему 
Рем. персонал прав на 100%. Это два понятия: ремонт приводной головки и ремонт электропривода (либо ручного)


Вернуться к началу
  Ответить с цитатой Ответить на тему  Профиль   Рейтинг: 0  
СообщениеДобавлено: 23 июл 2021, 11:07 
Не в сети

Зарегистрирован: 22 фев 2021, 09:09
Сообщения: 11
Благодарил (а): 1 раз.
Поблагодарили: 5 раз.
Заслуженная репутация: 0
 Ответить с цитатой Ответить на тему 
Макет клапана запорно дроссельного 950-150/250-Э. Огромное спасибо за 3d модель


"Энергомаш (Чехов)-ЧЗЭМ" - on-line консультации по арматуре / IMG_20210601_140851_790.jpg
201.12 КБ, Просмотров: 90502
Вернуться к началу
  Ответить с цитатой Ответить на тему  Профиль   Рейтинг: 0  
СообщениеДобавлено: 23 июл 2021, 11:09 
Не в сети

Зарегистрирован: 22 фев 2021, 09:09
Сообщения: 11
Благодарил (а): 1 раз.
Поблагодарили: 5 раз.
Заслуженная репутация: 0
 Ответить с цитатой Ответить на тему 
Еще


"Энергомаш (Чехов)-ЧЗЭМ" - on-line консультации по арматуре / IMG_20210601_140851_764.jpg
208.6 КБ, Просмотров: 90502
Вернуться к началу
  Ответить с цитатой Ответить на тему  Профиль   Рейтинг: 0  
СообщениеДобавлено: 23 июл 2021, 12:50 
Не в сети

Зарегистрирован: 13 авг 2013, 14:47
Сообщения: 28
Благодарил (а): 0 раз.
Поблагодарили: 3 раз.
Заслуженная репутация: 0
 Ответить с цитатой Ответить на тему 


Вернуться к началу
  Ответить с цитатой Ответить на тему  Профиль   Рейтинг: 0  
СообщениеДобавлено: 29 ноя 2021, 18:42 
Не в сети
Аватара пользователя

Зарегистрирован: 03 сен 2018, 11:46
Сообщения: 8
Благодарил (а): 2 раз.
Поблагодарили: 0 раз.
Заслуженная репутация: 0
 Ответить с цитатой Ответить на тему 
Здравствуйте. Помогите найти чертёж крышки к арматуре 1013-200... Чертёж№ 881 150 22 01... Или эскиз...нужна высота бурта на который сальник опирается...


Вернуться к началу
  Ответить с цитатой Ответить на тему  Профиль   Рейтинг: 0  
СообщениеДобавлено: 30 ноя 2021, 09:03 
Не в сети
Аватара пользователя

Зарегистрирован: 02 дек 2010, 14:02
Сообщения: 701
Откуда: г. Чехов
Благодарил (а): 8 раз.
Поблагодарили: 149 раз.
Заслуженная репутация: 12
Бравый Арматурщик
 Ответить с цитатой Ответить на тему 


881-150-22.pdf [1.89 МБ]
Скачиваний: 1178

_________________


Вернуться к началу
  Ответить с цитатой Ответить на тему  Профиль   Рейтинг: 0  
СообщениеДобавлено: 16 дек 2021, 22:10 
Не в сети

Зарегистрирован: 30 ноя 2009, 09:50
Сообщения: 759
Благодарил (а): 191 раз.
Поблагодарили: 191 раз.
Заслуженная репутация: 14
Бравый Арматурщик
 Ответить с цитатой Ответить на тему 
Добрый день! Серия ваша. Клапан непонятный.
Не знаете, кто это производит?


"Энергомаш (Чехов)-ЧЗЭМ" - on-line консультации по арматуре / IMG-20211215-WA0022.jpg
220.14 КБ, Просмотров: 83296 "Энергомаш (Чехов)-ЧЗЭМ" - on-line консультации по арматуре / IMG-20211215-WA0026.jpg
361.87 КБ, Просмотров: 83296 "Энергомаш (Чехов)-ЧЗЭМ" - on-line консультации по арматуре / IMG-20211215-WA0036.jpg
201.93 КБ, Просмотров: 83296 "Энергомаш (Чехов)-ЧЗЭМ" - on-line консультации по арматуре / IMG-20211215-WA0029.jpg
193.26 КБ, Просмотров: 83296
Вернуться к началу
  Ответить с цитатой Ответить на тему  Профиль   Рейтинг: 0  
СообщениеДобавлено: 20 дек 2021, 11:08 
Не в сети

Зарегистрирован: 08 авг 2016, 22:36
Сообщения: 63
Благодарил (а): 3 раз.
Поблагодарили: 0 раз.
Заслуженная репутация: 0
 Ответить с цитатой Ответить на тему 
Здравствуйте! Помогите, пожалуйста, с эскизом на крышку 883-100-6А-04 для задвижки 883-100-Э-02 Р 9.8 t545C. Необходимы основные размеры (диаметр и глубина сальниковой камеры шпинделя, размеры и глубина уплотняющей поверхности под корпусной сальник, высота бурта но который опирается сальник. Спасибо..


Вернуться к началу
  Ответить с цитатой Ответить на тему  Профиль   Рейтинг: 0  
Показать сообщения за:  Поле сортировки  
Начать новую тему Ответить на тему  Страница 31 из 34  [ Сообщений: 1697 ]  На страницу Пред.  1 ... 28, 29, 30, 31, 32, 33, 34  След.

Быстрый ответ
Вы не можете оставлять комментарии и ответы, пожалуйста ЗАРЕГИСТРИРУЙТЕСЬ для возможности полноценного доступа к форумам этой ветки

Часовой пояс: UTC + 3 часа [ Летнее время ]


Кто сейчас на конференции

Сейчас этот форум просматривают: нет зарегистрированных пользователей и гости: 5


Вы не можете начинать темы
Вы не можете отвечать на сообщения
Вы не можете редактировать свои сообщения
Вы не можете удалять свои сообщения
Вы не можете добавлять вложения

Перейти: 
Powered by phpBB © 2000, 2002, 2005, 2007 phpBB Group [ Time : 1.713s | 175 Queries | GZIP : Off ]

@Mail.ru
Администрация портала не несёт ответственности за достоверность размещённой в сообщениях форума информации.